
Porsche 911 Carrera GTS. Джерело: Porsche
Porsche зареєструвала патент на гібридну силову установку, яка поєднує в собі компактні та легкі електромотори з осьовим магнітним потоком від постачальника Yasa і двигун внутрішнього згоряння.
Що відомо
Патент був зареєстрований у Всесвітній організації інтелектуальної власності (WIPO). Документ розповсюджується на будь-який легковий автомобіль, однак у ньому окремо згадується використання «у спортивних автомобілях».
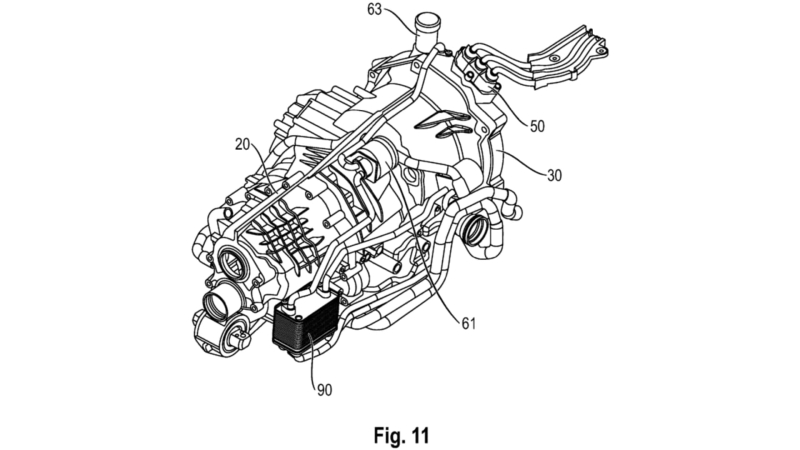
Замість встановлення відносно великого електродвигуна з радіальним потоком в корпус коробки передач PDK, як це зараз робить Porsche у 911 Carrera GTS, тонкий електродвигун з осьовим потоком буде розташовуватись між двигуном і трансмісією.
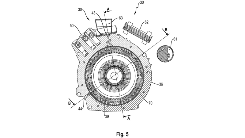
Двигун з осьовим потоком (також відомий як “дисковий двигун”) – це електродвигун, в якому магнітний потік проходить паралельно осі обертання, на відміну від звичайних радіальних двигунів, де потік перпендикулярний осі. Це дозволяє створювати компактніші, легші й більш ефективні конструкції з високою питомою потужністю та крутним моментом, особливо на низьких швидкостях.





Патентом передбачено, що електродвигун і двигун внутрішнього згоряння працюватимуть разом через коробку передач з подвійним зчепленням. Завдяки надтонкій конструкції електричного двигуна (товщина в деяких сучасних моделях становить всього 7,9 сантиметра), він не збільшить довжину всієї силової установки.
Стверджується, що така конструкція сприяє меншому тепловиділенню. У поєднанні з проникною камерою у формі чаші або дзвону, описаною в документі, електродвигун і двигун внутрішнього згоряння повинні отримувати достатнє охолодження. Головне питання: скільки потужності може створювати ця гібридна система?
Відомо, що найпотужніші агрегати Yasa досягають потужності понад 470 к.с. і крутного моменту 800 Нм. Гібридний Ferrari SF90 використовує три двигуни Yasa загальною потужністю 217 к.с., тоді як два двигуни Lamborghini Revuelto розвивають трохи менше ніж 296 к.с. Проте обидві системи працюють у парі з великими двигунами V8 і V12.
Якщо Porsche поєднає новий двигун з осьовим потоком з 3.6-літровим турбодвигуном, загальна потужність системи може перевищити 800 к.с.
Джерело: Carbuzz













